A640 VANSTONE TYPE THERMOWELL
Beschreibung
A640 VANSTONE TYPE THERMOWELL
Vanstone type thermowell is produced without any welding process by processing the whole round bar. Since it does not involve any welding process, it is used when high pressure, high velocity fluid and corrosive process media such as penetrating gas exist, and serving to isolate and protect from any leakage. The required flange is not standard and can be provided as an optional extra.
Material:
In general, the thermowell material chosen for the installation is governed mainly by the corrosion condition the thermowell will face. Recommended material for various services are given in the corrosion table. Occasionally, the material consideration is one of strength rather than corrosion. For example, a stainless steel thermowell may be required for a high pressure water service where otherwise a brass thermowell woule be satisfactory from a corrosion standpoint.
Insertion:
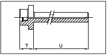
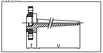
The distance from the end of the well to the underside of the thread or other connection means (Designated as "U") is the insertion length.
Bore size:
Almost any installation uses several type of temperature measuring instruments. The selection of a standard bore diameter can produce extreme flexibility within the plant.
Tapered or straight type:
Tapered type thermowells provide greater stiffness for the same sensitivity. The higher strength to weight ratio gives these thermowells higher natural frequency than for equivalent length straight type thermowells, thus permitting operation at higher fluid velocity Standard "T" length Well size 1½" or DN40 : 40 mm 2" or DN50 : 45 mm
Option:
Wake frequency calculations in accordance with ASME PTC 19.3
Standard "T" length:
Well size 1½" or DN40 : 40 mm
2" or DN50 : 45 mm
A6400 |
![]() |
A6401 |
![]() |
A6410 |
![]() |
A6411 |
![]() |
A6421 |
![]() |
Manufacturer:
Wise Control Inc.
Link to manufacturer's homepage:

Errors and omissions excepted. Due to ongoing research and development, specifications could change without notice.
Alle Funktionen und technischen Daten können ohne Ankündigung geändert werden, Lieferung vorbehaltlich Verfügbarkeit,Korrektur von Irrtümern und Auslassungen vorbehalten.














